取消刹车后,车还能刹住吗?
这种设计能给用户带来什么?
制造难点和缺点是什么,为什么没有大规模采用?
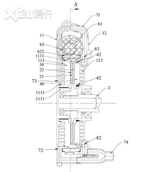
蔚来申请了一套取消常规刹车的专利,从结构上看,像是把刹车取消了。

取消刹车后,车是怎么刹住的?
在传统汽车上,刹车等同于轮边制动,刹车盘和卡钳直接固定在轮毂附近,靠夹紧盘面来阻止车轮转动。这套结构成熟、直观,但也有明显的问题,比如簧下质量高、轮边空间紧张、散热高度依赖气流,同时刹车粉尘直接排放到环境中。

新专利选择了一条不同的路径,轮毂内看不到刹车,其实并不是刹车消失了,而是搬到了传动轴上,如果你跑过卡丁车,就会发现卡丁车轮子过小,无法装下刹车,所以刹车也放在轴上,简单来说,就是“掐住轴”,间接让车轮减速。


从结构上看,这套专利的刹车被完整封装在电驱壳体内,核心是一套围绕传动轴布置的三明治式摩擦结构。摩擦盘套在传动轴上,与轴同步旋转;一侧是固定在壳体内的固定盘,另一侧是可以沿轴向移动的驱动盘。正常行驶时,这几块盘片彼此分离,传动轴可以自由转动;当需要刹车时,把摩擦盘夹在两侧盘之间,通过摩擦让车停下来。

专利没有采用传统液压卡钳,而是使用了螺纹副结构,驱动盘外缘做成外螺纹,外部套一只带内螺纹的齿圈。小电机通过蜗杆驱动齿圈转动时,驱动盘就会沿着螺纹前后爬行,从而完成夹紧或释放动作。由于蜗轮蜗杆结构具备自锁特性,一旦夹紧,即使不持续供能,也能稳定保持制动力,同一套机构可以承担刹车和手刹的功能。

这种设计能给用户带来什么?
技术看似复杂,但作用其实简单,首先是簧下质量的下降。刹车盘和卡钳不再挂在轮边,悬架所要控制的非簧载质量明显减轻,这对底盘响应、舒适性、NVH以及极限操控都有直接好处,同时也释放了轮罩内的空间,为空气动力学或更大转向角度提供了设计余量。

其次是冷却系统更专业,传统轮边刹车主要依靠空气流动带走热量,而轴上制动被封闭在金属壳体内,如果仍然使用风冷,几乎不可行。正因为如此,这项专利在结构上直接引入了双面液冷设计:驱动盘背面与壳体之间布置了冷却流道,冷却液从外向内螺旋流动;摩擦盘两侧几乎都“贴着水冷板”,即使是长下坡、反复重刹等工况,也不会热衰减。

第三个优势是刹车粉尘的封闭管理。常规轮边刹车产生的摩擦粉尘会直接排放到空气中,一方面污染环境一方面轮毂经常脏兮兮,洗车头疼,而封闭式轴上制动器可以把颗粒物限制在壳体内部,在维护时集中处理。类似“刮胡刀”,不是直接排出胡茬,而是存储起来定期清理。

为什么没有被大规模采用?
当然这种设计并没有大规模使用也有原因,最直接的问题来自热管理。虽然冷却系统更专业,但也更复杂,电驱系统本身已经需要处理电机和齿轮产生的多种热,现在再把制动摩擦产生的大量瞬时热量引入同一套系统,对冷却能力、回路设计和失效后的兜底都提出了更高要求。一旦冷却系统出现异常,影响的就不只是刹车性能,而是整个电驱的安全性。

其次,轴上制动意味着所有传动件都要承受刹车力。这种架构下,制动力需要经过齿轮、轴承甚至电机转子,相关零部件在极端工况下的强度和寿命设计都会更加苛刻,成本和设计难度随之上升。

此外,在量产层面,深度集成也带来了保养维修方面的问题。刹车系统是电驱总成的一部分,这对供应链和后期维修保养都提出了新的要求,去店里修刹车,换刹车片,还要把电机拆开,简单的事情变得更复杂。

选车侦探观点:简单说,蔚来的专利没有将刹车彻底移除,而是从轮毂里面搬到了电机里面,整合在电驱系统里,释放了轮毂空间,减轻黄下质量,这要比悬挂从钢板换铝合金更有效,操控直接灵活,缺点就是后期维修复杂,成本上升。大家觉得这种设计靠谱吗?欢迎讨论。
13万级纯电黑马,一小时订单破两万!今天咱们直接上路,开上这台全网刷屏的“公路磁悬浮”——深蓝L06,带大家感受下什么叫做“13万级的价格,百万级的体验”!
发动机对比,3代半对比5代底盘悬挂对比乘坐感受对比发动机对比,3代半对比5代新款在售的Q5L搭载的是三代半EA888发动机,低功率版本国内代号DTG,而换代后的新Q5L搭载第五代E
底盘悬挂对比,新MEB+平台为何在西班牙开发动力对比,充电速度和续航怎么样?底盘悬挂对比,新MEB+平台ID.Polo基于大众集团专为电动车开发的MEB+平台。核心特征是平板电池布
这次行摄漫记《开车带你玩》驾驶着这辆星越L东方曜,来到了东海之滨的群岛之城舟山,吉利中国星携手舟山文旅续写文旅中国探索计划第四季华章也由此开启了,之前我们从西北的大漠,体验了它的壮丽,现在又在碧海金沙之间,将开启一段融合风景、人文、音乐的试驾旅途。
电动车用户的“终极焦虑”莫过于电池安全——碰撞起火、高温自燃、低温性能衰减,这些问题让很多消费者对电动车望而却步。广汽昊铂HL搭载的宁德时代骁遥电池,配合广汽自研的“弹匣电池2.0
新一代底盘悬挂有哪些改变主打的混动系统靠谱吗?尺寸空间有何变化底盘与悬架在新一代 GLB 上,奔驰没有满足于传统的紧凑级布局,而是在前后桥都采用了新的设计。前悬架仍以麦弗逊结构为基
本次推出的京剧主题滑雪视频,以极具视觉冲击力的画面,将千年京剧文化与现代冰雪运动深度融合。视频中,滑雪者身披精工细作的京剧戏服驰骋雪场,一笔一画勾勒的戏服纹样,沉淀着国风文化的深厚底蕴;一冲一跃舒展的雪上身姿,张扬着当代潮玩运动的肆意锋芒。踩雪刃破风前行,着锦袍潇洒登场,每一次利......
新漂移专利是什么?这项专利具体如何工作,原理和过程还有哪些品牌有一键漂移功能漂移专利是什么?传统ESP/ESC系统的功能是尽量消除滑移,而小米这项专利的功能是--人为制造轮胎滑动,
新车异味、甲醛超标,是很多车主的“心头病”——尤其是有老人和小孩的家庭,长时间处于污染的车内环境,可能引发呼吸道不适等健康问题。广汽昊铂HL在车内材质的选择上,以“环保无异味”为核
比亚迪海洋网四周年用户盛典现场体验,带大家来感受一下现场!海洋网新车型是个惊喜,将以海洋8系双旗舰,重塑高端新能源标准!
新秀战老将?奥迪E5 Sportback硬刚Model 3,智能、动力、空间谁赢
此时正值冬季,北方一片严寒。不过西藏的冬季基本都是晴天,下雪天气相对较少,白天气温在10°以上,高于大部分北方城市。很多资深玩家都认为冬天的西藏更像西藏,没有了人群的喧嚣与拥挤,多
研究了俩月,比完一圈,最后决定带缤果S回家。卖得好确实是有原因的!之后就可以开着它逛武汉啦,开心~
静态能打动态稳,家用通勤全hold住,智界R7藏多少惊喜?
极寒严考,强者加冕!12月18日,在中国汽车技术研究中心主导的“2025极寒驾控安全主题技术验证”中,东风雪铁龙凡尔赛C5 X与东风标致508L凭借超凡的操控稳定性能,双双斩获 “
岚图追光L现在已经上市了,价格在27.99万到30.99万之间。看完这个冬测,你 觉得它有没有实力,去撼动那些传统的豪华轿车市场呢?
吉利高海拔风洞和环境风洞是什么?吉利任意角度碰撞测试台对比传统碰撞测试为何一个假人身价1200万元?108G加速度的滑台试验室是什么?相当于多快的速度突然撞停?参考沃尔沃瑞典哥德堡
相比普通乌尼莫克有何差异扭转柔性车架真的可以扭曲吗?还有哪些独特的越野装备?相比普通乌尼莫克有何差异乌尼莫克早期其实就是工程机械车辆,但随着用途越发广泛,从铲雪机、消防车、保障车、
匆匆岁月,蹉跎而过,北风送寒,万物渐萧条。不知不觉,又到了冬季,不像北方冬季的茫茫雪国,也不像南方冬季依旧的绿意葱葱,位于南北分界线的安徽,萧条的树枝,枯黄的草地,它的冬季,似乎有些荒凉,然而,俗话说得好“寒风瑟瑟吹,围炉聚首时”,这个时候,一轮暖阳,一炉热气腾腾的火锅,三两好友......
是油改电吗?底盘悬挂如何?动力系统怎么样?油耗如何?能越野吗?有哪些越野装备是油改电吗?底盘悬挂如何?福特智趣烈马并非简单地给燃油版烈马装上电机,不是一款油改电的车型,而是江铃福特